Triumph Unveils New Triple Trophy Race Bikes, and Announces Moto2 Sustainable Fuel Testing Big news from Triumph, as the company unveils the new Triple Trophy prize bikes and announces 100% non-fossil fuel testing this year. By Robbie Bacon Mar 9 -
Pretty Much Everyone Just Quit Damon Motorcycles, The Folks Behind The 200 HP EV Superbike It's been a long and rough road for Damon Motorcycles, the startup EV company that promised a 200-horsepower, 200-mph, 200-mile range EV superbike. And now, the board, CEO, and CFO have quit. By Jonathon Klein Mar 9 -
After Using AI In Its Photos, BMW Now Has Robots That'll Likely End Up Build ingMotorcycles BMW seems to want to be on the forefront of new technologies, including using AI-generated images in its press photo materials. Now the company is touting its use of full-scale humanoid robots, and I'm not sure that's a great idea. By Jonathon Klein Mar 7 -
This Indian Motorcycle Company Is Now Bigger Than Yamaha, And That's Big News TVS is a huge name in India and throughout that portion of the world. But surpassing Yamaha to become the third-largest motorcycle manufacturer is big news. By Jonathon Klein Mar 6 -
KTM Just Pulled The Corporate Version Of A Home Refinance A fresh 550 million-euro loan lets KTM repay Bajaj’s bailout and move its debt to an international banking consortium. By Enrico Punsalang Mar 6 -
HEL Performance Brakes Acquires Harrison Billet. What Does That Mean For the Moto Market? The deal between Hel Performance and Harrison Billet may broaden the availability of high-end billet calipers across the global motorcycle aftermarket. By Kyra Sacdalan Mar 6 -
Yamaha Is "Streamlining" US Business, Sells California HQ And Moves To Georgia Yamaha plans to shift corporate functions to Georgia and sell its Southern California headquarters to improve asset efficiency. By Enrico Punsalang Mar 3 -
Indian Motorcycle HQ Is Moving up the Road to Golden Valley, MN, After Private Equity Buyout After Polaris sold Indian Motorcycles to private equity firm Carolwood LP, the motorcycle brand had to move its headquarters. But it only went up the road. By Robbie Bacon Mar 2 -
KTM's Newest Superbike Is Barely Out, Yet The Company Is Making It Sharper For The Track After a long run-up to production, and issues revolving around parts, folks are finally getting KTM's new 990 RC R sportbike into their hands. The company, however, just announced it'll have a track edition, too. By Jonathon Klein Feb 26 -
Self-Driving Tech Takes "Away the Entire Reason to Ride a Motorcycle," Says Ducati's US CEO Ducati’s top U.S. executive tells Business Insider that autonomous bikes miss what makes motorcycling meaningful. By Kyra Sacdalan Feb 25 -
Off-Road Shock Manufacturer Is Looking To Improve "Profitability" As Fox Factory Gets New Board Fox Factory, the folks responsible for every go-fast, off-road shock on the market, is getting new board leadership. And in the announcement, finding ways to improve profitability and operations are mentioned a lot. That's usually code for layoffs. By Jonathon Klein Feb 24 -
Harley-Davidson's Customers Got Screwed By Trump's Now-Illegal Tariffs Tariffs are taxes on the people, that's just plain fact. And the Trump administration's now-illegal tariff taxes hit Harley-Davidson's customers hard in 2025. By Jonathon Klein Feb 24 -
Honda's Returning Motorcycles Say "Yes" To Every Type Of Rider All At Once The 2026 lineup spans adventure bikes, mini-moto throwbacks, scooters, and trials machines for riders all over the world. By Enrico Punsalang Feb 24 -
There’s An Electric Scooter Gold Rush Happening In India India’s EV two-wheeler sales crossed 1.27 million units in 2025, with monthly volumes holding above 100,000. By Enrico Punsalang Feb 20 -
KTM Parts Ways From Its Long-Time Designer Amid New Owner's Cost Cutting Kiska Design was, theoretically, part of KTM Group. But through Bajaj's cost-cutting ways, the two have parted ways. By Jonathon Klein Feb 19 -
Huge International Motorcycle Expo Postponed Until 2027, but Could Help Bike Sales Germany's largest motorcycle expo, Intermot, is changing its schedule, putting it head-to-head with another large, German, two-wheeled event. By Robbie Bacon Feb 17 -
The Owner of Easyriders Magazine Just Published, and Took Down, a Pro Pedophilia Story The owner of Easyriders Magazine, the OG of chopper culture print books, just posted and then subsequently removed, a graphic story about a biker engaging in pedophilia. By Jonathon Klein Feb 14 -
Dorna Is Dead, Long Live MotoGP Sport Entertainment SL! Dorna Sports is officially dead as we know it and has been renamed 'MotoGP Sport Entertainment SL'. But the changes are more than surface-level amid corporate restructuring. By Robbie Bacon Feb 13 -
Harley-Davidson Confirmed 'Headcount Reductions' Are Coming to Course Correct Company After its investor meeting where it presented its yearly financials, a Harley-Davidson spokesperson said that part of how the brand would right the ship would be through layoffs. By Jonathon Klein Feb 12 -
Harley-Davidson's 'Taking Deliberate Actions to Stabilize Business' Following Massive Sales Decline The Motor Co.'s 2025 was, let's just say, not great, and in its Q4 earnings report, newly minted CEO Artie Starrs had to deliver the news that it saw a 26% decline in revenue compared to the year prior. By Jonathon Klein Feb 11 -
Indian Motorcycle Will Not Build an Entry-Level Bike, Says New CEO In a press question and answer session, Indian Motorcycle's new CEO, Mike Kennedy, responded to whether or not the company is looking into an entry-level bike. He said no and threw water on EVs, too. By Jonathon Klein Feb 10 -
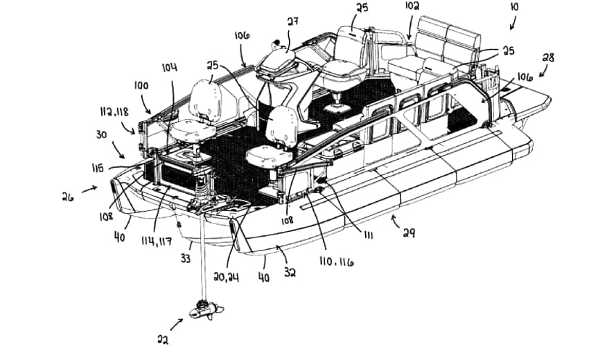
BRP Said It's Getting Out of Boats. So What's Up With This New Pontoon Patent? Only a few months ago, Bombardier Recreational Products (BRP), said the company was leaving boats behind to focus on its PWC brand Sea-Doo. So what's up with this recent pontoon patent? By Jonathon Klein Feb 6 -
Outgoing BRP CEO Says Future Growth Lies Outside the United States Trade uncertainty and market saturation are pushing BRP to chase growth beyond North America. By Enrico Punsalang Feb 4 -
KTM Just Had a Really, Really Bad Sales Year Even after halting production, reducing past inventory, and sales events to clean out stock, KTM still had a really bad sales year in 2025. By Jonathon Klein Feb 2 -