There's An Unofficial Update on Kawasaki's Teryx H2 Recall. Maybe an End In Sight? Here's all the latest information on Kawasaki's ongoing Teryx H2 side-by-side CVT recall and stop/sale order. By Jonathon Klein Recalls - May 11
There Might Be a Two-Seat Kawasaki Teryx H2 Coming Soon, Here's What We Know While Kawasaki's supercharged four- and five-seat Teryx H2 UTVs are on showroom floors, the company hasn't launched a two-seat version to compete with the Polaris RZR or Can-Am Maverick R. But that could be changing real soon. By Jonathon Klein UTV - May 10
Kawasaki’s Little Mule Still Works Harder Than Some Fancy UTVs The 2027 Kawasaki Mule SX range keeps things simple with a 401cc engine, compact sizing, and real work-ready capability. By Enrico Punsalang Off Road - May 8
Kawasaki's Hybrid Ninja And Z Motorcycles Are Getting Some Pretty Big Upgrades Updated transmission mapping and EV mode in the Kawasaki Ninja and Z7 Hybrids make them even more practical. By Enrico Punsalang Sportbikes - Apr 8
Kawasaki's New Entry-Level Off-Road Motorcycle Is Pretty Damn Good: Video Review When the internet first found out about the new 2026 Kawasaki KLE500, they weren't impressed. But they hadn't ridden it. Well, RideApart has, and here's our video review of the new motorcycle. By Jonathon Klein Reviews - Apr 11
2026 Kawasaki KLE500 First Ride Review: It Doesn't Deserve the Internet's Hatred Much hate has been directed toward the all-new 2026 Kawasaki KLE500 due to a variety of spec-sheet "failures." But having ridden it in the mountains of Utah, it's undeserved. Though a few tweaks could make it great. By Jonathon Klein Reviews - Apr 7
The 2025 Kawasaki Z900 SE Is Like an ’80s Lamborghini, Don’t Ride It If You Don’t Want To Be Seen I tested the spicy-looking 2025 Kawasaki Z900 SE on the road and track to see if its performance matches its looks. By Robbie Bacon Reviews - Aug 29 2025
Kawasaki's New Supercharged Teryx H2 Side-By-Side Is So Fast, It Breaks Your Brain Kawasaki just launched its long-awaited, supercharged, 250-horsepower flagship Teryx H2 side-by-side. We drove it, and it's so good, it's disorienting. By Kyra Sacdalan Reviews - Aug 21 2025
Why Imperfect Old Motorcycles Are the Antidote To AI Nonsense Hands-on and handmade beats the hell out of push-button AI slop every day, 365 days of the year, 7 days a week, and it's how we save ourselves. By Janaki Jitchotvisut Positions - May 6
Kawasaki Should Build a KLE R, And Here's How I'd Do It The new Kawasaki KLE500 is a fine entry-level off-road motorcycle. But the bones are there for something way wilder. I want a KLE R, and here's how I'd personally do it. By Jonathon Klein Explainers - Apr 8
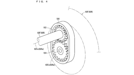
This Weird Kawasaki Patent Might Shape The Future Of Powersports Hydrogen storage challenges have got Kawasaki's engineers thinking, and could shape the future of powersports. By Enrico Punsalang Positions - Apr 2
"Being Mobile Is an Important Way In Finding [Hunting] Success," Says Remi Warren About His UTVs The OG backcountry hunter, Remi Warren, sat down with RideApart at the Western Hunt Expo to talk how side-by-sides help get others out into the field, and give you the ability to find further hunting success. By Jonathon Klein Interviews - Feb 25